服務熱線:15195518515在線客服:1464856260
傳真號碼:0517-86801009
郵箱號碼:1464856260@qq.com
網 址:http://www.88188cn.com
地 址:江蘇省金湖縣理士大道61號
雷達液位計應用于油品儲罐液位計量中的特點應用情況及效果
石油工業中對于原料油與成品油品的儲存是一項特別的工作內容,油品儲罐是煉油廠存儲原油和成品油的重要設備,儲罐液位是油品集輸工藝的重要參數之一,關于油品相關的儲存與測量的技術也在不斷地發展。隨著各種測量技術的不斷出現以及石油工業的迅猛發展,包括計算機、光纖、超聲波、伺服、雷達液位計等高新技術的不斷涌現,油罐自動液位計量已進入多功能、高精度的新階段。采用人工檢尺等接觸式方法測量液位,存在種種弊端,非接觸式雷達液位儀可以解決液位測量中誤差大、不安全等問題。
近年來,由于目前我廠共有油品儲罐60座,存在著檢測技術陳舊、檢測誤差大、維修調試困難等諸多問題。一是人工檢尺方法原始而又繁瑣,尤其是在氣候惡劣的條件下,給工人帶來不安全因素;二是鋼帶液位計*次安裝要求較高,機械磨擦影響計量精度,還存在著液位突然移動跟蹤不及時,冬季重油罐易出現凍凝等問題;三是稱重式計量儀表,這種儀表工作時必須向罐內吹氣,可使輕油揮發,造成油品損失,并污染空氣,另外,引氣管堵塞和泄露都影響檢測效果。自從采用非接觸式儀表雷達液位計以來,許多以往的因測量帶來的困擾迎刃而解,解決了油品儲罐液位檢測中存在的問題。
本文結合我廠油罐測量從手工測量、靜水壓油罐液位儀、浮標尺測位儀到雷達液位儀的發展歷程重點介紹了雷達液位計的測量原理及技術特性,以及安裝、調試、使用過程中存在和解決的一些問題。
1系統原理及特點
1.1工作原理
雷達液位計微波是以光速c傳播的高速電磁波,當發射的電磁波碰到介質液面時就會反射回來,雷達通過測量發射波與反射波之間的延時t來確定天線與反射面之間的距離(空高h)。T=2h,c。(c=300000kinds)光速c不受介質環境的影響,傳播速度是穩定的,當測得延遲時間t就可獲得h。, 差額A, 發射信號反射信號圈I探測器工作原理雷達系統不斷地發射線性調頻信號(即頻率與時間成線性關系的信號),可以得到發射信號頻率與反身信號頻率之間的差頻,差頻正比于延遲時間t,也即正比于空高h。差頻信號經過數據處理,就可獲得高空值h,罐高值與空高值之差就是液位值。
1.2特點
1.2.1可靠性高。非接觸測量,無活動部件,NNN靠性高。
1.2.2計量精度高。測量精度不受介質溫度、壓力及介電常數等變化的影響。
1.2.3應用范圍廣。可運用于各種油品儲罐,尤其運用于高精度、易結晶及高溫高壓的介質。
1.2.4數字輸出技術。具有RS-232、RS一485標準接口,現場與控制室之間采用數字傳輸,可以克服模擬信號傳輸帶來的誤差。
1.2.5體積小、重量輕,安裝便捷、維護簡單。
1.2.6有故障自診斷和提示功能。
3選型及安裝
1.3.1選型。
通過考察,我們選用了雷達液位計。雷達液位計按照天線形狀(天線的外形決定微波的聚集和靈敏度)分為波導管型和喇叭型兩種。一般拱頂罐采用喇叭口安裝,浮頂罐采用波導管安裝。
1.3.2安裝。
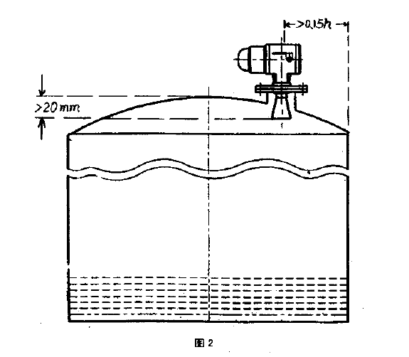
①喇叭口天線的下端必須低于罐頂20mm以上,法蘭對水平面的誤差應小于±0.5°,喇叭天線的中軸線應保證與液面垂直,且距罐壁的*小安裝距離不能小于0.15H ( H為罐高)。(如圖2)

②波導管安裝法蘭對水平面的誤差應小于士10,波導管的中軸線必須與液面保持垂直;為避免沖擊,波導管的安裝位置應遠離進出料口。(如圖3)

2.應用情況及效果
2.1應用情況:自2000年以來,我們在原油末站兩座5側X用膨的原油儲罐上安裝了兩臺,至今,先后又在柴油液態烴罐上安裝了6臺雷達液位計,運行狀況良好。
2.2應用效果分析:為了考核雷達液位計的技術性能,我們于2000年6月10日至7月3日,在原油罐區做了人工量油與液位儀自動量油對比測試,效果良好。
①*大誤差為Znun,運行穩定。
②儀表能準確地反映各罐原油生產動態、
③方便管理和操作運行。站內儲油情況,滿足了原油動態計量、數據傳輸的要求。
2.3存在的問題與改進措施:
2.2.1波導管附著物對測量的影響。由于設計上的缺陷,我廠原油罐采樣口利用了雷達液位儀的波導管,采樣過程造成一定量的原油積聚在波導管上,引起測量誤差。針對這一問題,我們在浮盤導向管進行開孔后,將其改造成了新的采樣口,解決了這一問題。
2.3.2電源對測量的影響。由于電網壓力波動較大,對一、二次儀表供電影響較大,影響了雷達液位計的正常工作。針對這一問題,我們增設了一套穩壓裝置,保證了一、二次儀表的供電正常。
2.3.3傳輸波導管引起的測量誤差。波導管一般離罐底200-300mm左右必須采用外夾套焊接方法,不能對焊。波導管內壁絕不能有焊縫及毛刺存在應為一整根,若需加長,否則會影響測量精度。
2.3.4罐內液體反射面以上組分構成及特性對測量誤差的影響。
①利用雷達系統進行液位測量,必須保證一部分反射波從物位表面反射回去。若液體物位表面存在一層氣泡,反射信號的能量很小,將引起測量誤差,如圖4所示。消除的方法是加傳輸波導管。
②液化氣罐的測量由于其飽和蒸汽壓低,氣相濃度大,對測量精度產生較大影響。消除的方法是進行智能補償。

3.經濟效益和社會效益.
計量準確,穩定性好,實現了對油品儲罐的全天候計量和良好性能。
3.1該雷達液位計儀表結構合理,監督。
3.2,雷達液位計的推廣應用,較好地解決了我廠原油進廠的盈虧計量及成品油出廠的損耗管理。通過原油的準確計量,2001年曾及時發現3起在原油管線上栽閥偷油案件,并采取措施,使其及時被杜絕,產生了較好的經濟效益和社會效益。該液位計和推廣使用,充實了我廠局域網數據,為生產管理自動化打下基礎。目前我公司計量數據90%己實現了網上采集和傳輸。
3.3該液位計的應用,減少了對人工操作的依賴,取消了操作工每兩小時上罐量油一次的作業,*大地減輕了崗位工人的勞動強度,提高了勞動效率。
3.4該液位計的使用,杜絕了在炎熱、雷雨、冬雪等惡劣環境條件下,人工檢尺的不安全因素。
4結論
雷達液位計的推廣應用,實現了由接觸式測量到非接觸性測量的轉變,綜合測量精度提高到了。在企業面臨入世挑戰、深入挖潛增效的**是油品儲罐液位計量的*選儀表。



|